泵的傳動端應該是運行平穩、溫升正常、無異常聲響,且尺寸較小傳動端雖然看似相同,然而一個好的機座總是有特色的。
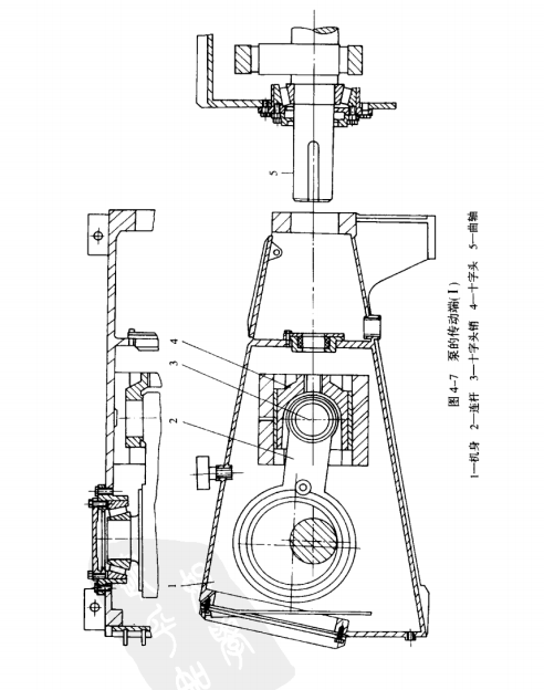
下圖所示為典型的泵傳動端。其減速機構全部置于泵外,箱體空間較大,飛濺潤滑,各運動件的連接都很簡單,箱內零件由后端蓋置入裝配,機身采用鋼板焊接,曲軸為球墨鑄鐵,其內部鉆有小孔用以對連桿和滾動軸承進行強制潤滑。該機座配套功率140kw,泵速200-500次/min。

為更大限度的減少總體尺寸,所示圖的傳動端將減速的齒輪副置于箱內,在兩個曲軸軸肩上設置一對相向的斜齒輪組成人字齒輪,動力由主齒輪軸輸入,該傳動端由于齒輪尺寸大,仍為飛濺潤滑。箱內空間相對較小,為了保證端部壁油封壽命,在滑履前部設有卸壓卸油孔。為了便于安裝,特意另加了軸承座。有些泵的傳動端與液力端的連接很講究,采用球面點接觸、上下卡環連接方式,這種連接尤其適用于高壓泵的柱塞對中調心,該泵則采用連接桿方式。
